Product Summary
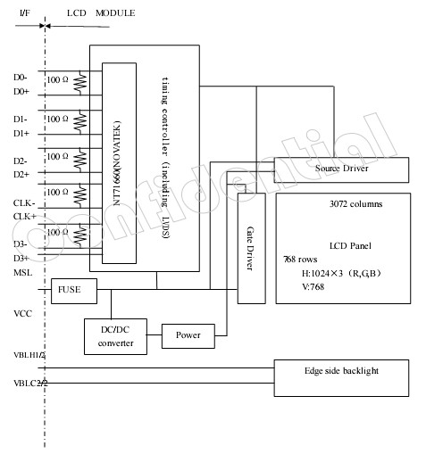
The SVA150XG10TB is a TFT color LCD module. It is composed of the amorphous silicon thin film transistor liquid crystal display (a-Si TFT LCD) panel structure with driver LSIs for driving the TFT (Thin Film Transistor) array and a backlight. The a-Si TFT LCD panel structure is injected liquid crystal material into a narrow gap between the TFT array glass substrate and a color-filter glass substrate. The application of the SVA150XG10TB is Monitor for PC.
Parametrics
SVA150XG10TB absolute maximum ratings: (1)power supply voltage:-0.3V to +3.6V; (2)input voltage for signals: display signals:-0.3 to +3.6V, function signals: vi<VCC+0.3V; (3)storage temperature:-20 to +60°C; (4)operating temperature: front surface:0 to +50°C, bear surface: 0 to +55°C; (5)relative humidity:≤95% or ≤85%; (6)absolute humidity:≤70g/m3.
Features
SVA150XG10TB features: (1)a-Si TFT active matrix ; (2)LVDS interface (8 bit) ; (3)Selectable LVDS input map ; (4)Wide viewing angle ; (5)high response time: 16ms ; (6)PSWG standard ; (7)High contrast: 400:1 ; (8)Edge light type backlight (Inverter less) ; (9)Replaceable lamp for backlight.
Diagrams

![]() |
![]() SVA12SC24 |
![]() ETA-USA |
![]() DC/DC Converters 25W 24VDC INPUT |
![]() Data Sheet |
![]()
|
|
||||||||||||
![]() |
![]() SVA15SC12 |
![]() ETA-USA |
![]() DC/DC Converters 25W DC-DC CONV |
![]() Data Sheet |
![]()
|
|
||||||||||||
![]() |
![]() SVA15SC24 |
![]() ETA-USA |
![]() DC/DC Converters 25W 24V DC-DC CONV |
![]() Data Sheet |
![]()
|
|
||||||||||||
(China (Mainland))








